Powered by Smartsupp

Magnetický plovákový vodorovný snímač hladiny - nerezový

  • Kód: SF141 PFRC8063
  • Hmotnost: 0,09 kg

Magnetický plovákový snímač hladiny v nerezovém provedení SF141 představuje velmi jednoduchý způsob, jak detekovat vysokou nebo příliš nízkou úroveň hladiny.

Počet kusů
799,00 Kč
Ceny jsou uváděné bez DPH
SKLADEM

Základní informace

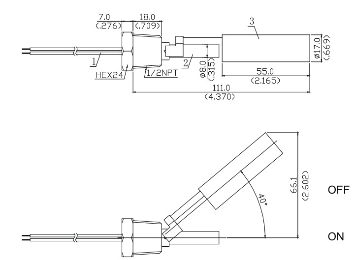
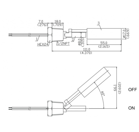
  • Polohy spínání: pro horizontální (vodorovné) spínače
  • Princip funkce: magnetický kontakt
  • Maximální provozní tlak: 1 MPa
  • Max. teplota měřené kapaliny: od  –40 °C až + 125 °C
  • Okolní teplota: od  –40 °C až 100 °C
  • Hustota měřeného média min.: 0.8 g/cm³
  • Stupeň krytí IP 65
  • Nevýbušné provedení
  • Připojení závit vnější: G 1/2"
  • Materiál: nerezová ocel 1.4301 (AISI 304)
  • Sepnutý při plováku v ose (max. úhel 5°)
  • Vypnutý při vychýlení v poloze 40° od osy
  • Připojení snímače: dvoužilový kabel (délka 0.5 m)

Elektrická data

Jmenovitý výkon kontaktu (max.)70 W
Maximální spínané napětí200 V DC a 250 V AC
Maximální spínaný proud (AC)1000 mA
Maximální spínaný proud  (DC)1000 mA
Maximální spínaný proud do činné zátěže1.75 A
Poruchové napětí (min)400 V DC
Přechodový odpor kontaktu (min)200 mΩ

Oblasti použití

  • Snímání spodní úrovně hladiny chladiva
  • Potravinářský a nápojový průmysl
  • Mlékárenský průmysl
  • Snímání a sledování hladiny paliva nebo oleje
  • Sledování hladiny kapalin
  • Prodejní automaty
  • Domácí spotřebiče
  • Lékařská zařízení
  • Sociální zařízení
  • Snímání spodní úrovně hladiny chladiva
  • Snímání hladiny paliva nebo oleje
  • Prodejní automaty
  • Lékařská zařízení
Na vašem soukromí nám záleží

Potřebujeme Váš souhlas s použitím souborů cookies, aby Vám mohli lépe přizpůsobit webové stránky a usnadnit jejich používání. Kliknutím na tlačítko "Souhlasím" souhlasíte s uložením cookies do Vašeho prohlížeče, díky kterým využijete potenciál webu naplno. Podrobnosti najdete na stránce "Informace o cookies".